電磁流量計傳感器電極結構背景技術
電磁流量計,是利用電磁感應現象將在測量管內流動的具有導電性的被測流體的流量轉換為電信號進行測量的裝置
圖1顯示了現有技術中的一種電磁流量計的結構。如圖1所示,所述電磁流量計包括:流動有被測流體的測量管11,和與被測流體相接觸且對向配置在測量管11上的電極12a、12b,向被測流體施加磁場的勵磁線圈13,向勵磁線圈13供給勵磁電流、使其產生磁場的電源單元14。另外,所述電磁流量計還包括:與電極12a、12b連接用于檢測電極12a、l2b之間的感應電動勢的信號轉換單元15,從由信號轉換單元15檢測出的電極間電動勢計算出被測流體的流量的流量輸出單元16應用所述電磁流量計,當流體在測量管11中穿過由勵磁線圈13產生的磁場流動時,根據法拉第定律,就會在電極12a、12b上產生感應電動勢,流體的平均流速與電極處感應出的電壓之間具有線性關系,這一關系可以用下述公式表示:E=K*B*舉V,其中E為所產生的感應電壓,K為比例常數,B為磁場強度,D為導管直徑,而V為傳導型流體的平均流速這樣,利用信號轉換單元15和流量輸出單元16,即可測得與所述感應電動勢對應的流體的流速,進而獲得流體的流量陶瓷管電磁流量計傳感器有很多優點,但電極密封是一個很大難題。圖2為圖1中沿著與勵磁線圈13產生的磁場相垂直的平面用以顯示電極布置的剖示圖。如圖2,測量管11設有電極插孔110,所述電極插孔110為圓柱形或圓錐形,其厚度大致與測量管11的壁厚相當,電極(在這里僅標示出電極12a)內嵌于測量管11的電極插孔110中。然而,圖2所示中的電極,只有少數廠家具備特殊的燒結技術,在高溫高壓環境下制作出電極以確保電極不滲漏,實現難度極大。而采用0型圈等機械裝配密封,由于陶瓷材料表面一定厚度會變湖,使用時間一長,絕緣性就會下降,影響測量精度
電磁流量計傳感器電極結構具體實施方式
鑒于現有的陶瓷測量管電磁流量計提供的是厚度與陶瓷測量管壁厚相當的圓柱形或圓錐形的電極插孔,致使電極結構存在制作工藝難度高、易出現電極滲漏等諸多問題。
因此,本實用新型的發明人創造性地對現有陶瓷測量管電磁流量計作了改進,提供一種新型的電磁流量計傳感器的電極結構,主要是在陶瓷測量管的相對兩端對向配置了呈凸臺狀的一對電極插孔(所述電極插孔的深度要大于所述陶瓷測量管的管壁厚度),在所述電極插孔內設置電極,如此,可以使得電極與陶瓷測量管之間緊密結合,避免陶瓷測量管的流體沿著電極和測量管之間的細小縫隙滲漏,皃服電極滲漏的問題
以下將通過具體實施例來對本實用新型的電磁流量計傳感器的電極結構進行詳細講述。

具體實施例:
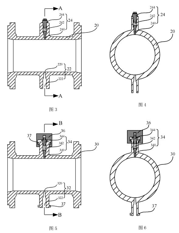
請參閱圖3和圖4,其中,圖3顯示了本實用新型的電磁流量計傳感器在實施例中沿著徑向的截剖圖圖4為圖3沿著A-A所作的截剖圖。
結合圖3和圖4,所述電磁流量計傳感器包括:流動有被測流體的陶瓷測量管20于陶瓷測刂量管20的兩個端面處、作為密封用的法蘭;對向配置在陶瓷測量管20沿著管徑的相對兩端、外凸于所述陶瓷測量管呈凸臺狀的一對電極插孔22;與電極插孔22配合裝配至陶瓷測量管20上的電極構件24陶瓷測量管20具有密封端面結構,所述密封面可以根據工況而制成夾持式、法蘭式等連接形式及密封面形式,在實際應用中,陶瓷測量管20與所述密封端面是由陶瓷一體燒結而成的。具體地,陶瓷測量管20可以是由含量為95%至99%的高純度氧化鋁(即化二鋁,Al202)陶瓷顆粒在高壓高溫下經一次燒結成毛坯,由于這時硬度還不是很高便于精加工成所述形狀,再經過高壓高溫二次燒結而制作出具有高致密度高強度的陶瓷量管結構件,當然,在其他情況下,陶瓷測量管20也可以由其他陶瓷類材質如氧化鋯、碳化硅等燒結而成。
特別地,在本實用新型的電磁流量計傳感器中,對向配置在陶瓷測量管20相對兩端的一對電極插孔22外凸于所述陶瓷測量管呈凸臺狀。相對于電極插孔的深度與陶瓷測量管的管壁厚度相當(相近或相等)的現有技術,本實施例中的電極插孔22的深度要遠大于(2倍以上)陶瓷測量管20的管壁厚度。具體地,電極插孔22為內縮外擴的沉孔結構,包括指向陶瓷測量管20內壁面的**插孔區段220以及與**插孔區段220相連、指向陶瓷測量管20外壁面的第二插孔區段222。其中,**插孔區段220中遠離第二插孔區段222的那一個端面是與陶瓷測量管20內壁面相齊平。**插孔區段220呈圓柱狀或圓錐狀(呈內窄外寬);第二插孔區段222呈圓柱形或圓錐形(呈內窄外寬);第二插孔區段222和第插孔區段220的連接面呈平面或圓錐面,較佳地,呈圓錐面。針對電極插孔22的制作,在一個實施例中,可以是在陶瓷測量管20的燒結工藝前預留有與電極插孔22對應的結構從而在燒結工藝后形成,例如采用了與待形成的電極插孔對應的模具并在燒結工藝后去除所述模具從而形成電極插孔22:或者,在另一實施例
中,也可以是在經過燒結工藝后的陶瓷測量管20上再進行例如開鑿等后續加工工藝而形成電極插孔22。實際上,只要能制作出具有電極插孔的陶瓷管,其具體制作工藝并不限于上述的描述,仍可以有其他的變化,故在此不再贅述。
上一條:
低頻方波勵磁的電磁流量計在測量漿液中的表現
下一條:
具有快速響應的電磁流量計高低壓勵磁系統